製品一覧 A
製品画像 ・ 図面 ・ 特長 ・ 仕様

Adjustable Prism Insert 30 with allen wrenches.

Technical drawing of G063731000

An additional mounting tool (part number G063726000 or G063727000) helps you during centric alignment of beam splitter cubes on the Adjustable Prism Insert 30.

Application Example: Michelson interferometer consisting of LINOS Microbench components.
- エッジ長 20mm のビームスプリッタキューブ、またはプリズム接着用の表面
- 高精度な調整が可能、傾斜角の調整と、軸の位置決めのための 3 つのねじ
- キューブ 30(G061081000)またはクランプホルダ 30-M(G061222000)に組込み可能
- マウントプレート内で回転可能、ピッチ 0.15mm の微調整ネジ付き
- 調整部分は六角ネジ、2 つのアレンレンチ付属
- 各軸を独立して調整可能、⌀8mm スルー穴
製品一覧 B
製品画像 ・ 図面 ・ 特長 ・ 仕様



Application Example: Michelson interferometer consisting of LINOS Microbench components.
- 22.4x31.5mm の楕円形ミラーまたはビームスプリッタ用の接着面
- キューブ 30(G06 1081 000)またはクランプホルダ 30-M(G06 1222 000)に組込み可能
- ピッチ 0.15mm の微調整ネジ付き、調整部分は六角ネジ
- 2つのアレンレンチ付属、各軸を独立して調整可能
- ミラー接着面に⌀14mm のスルー穴、底面に⌀8mm のスルー穴
| 製品名 | 型番 | 価格(税別) | 技術資料 |
|---|---|---|---|
| 調整可能 ミラーインサート 30 |
G063730000 | ¥38,200 |
製品一覧 C
製品画像 ・ 図面 ・ 特長 ・ 仕様


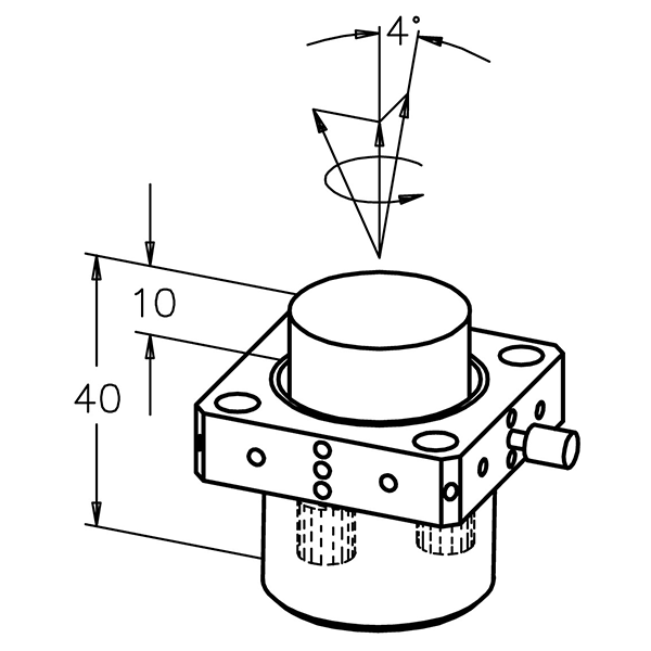
- プリズム、ミラー、ビームスプリッタキューブ用
- マイクロベンチロッド間に適合
- 2個のネジで ±4°の角度を調整
製品一覧 D
製品画像 ・ 図面 ・ 特長 ・ 仕様


- プリズムマウントはマウントプレート内で回転可能
- 部品は接着して固定してください。
- ネジ用保護キャップ付
- 0.25mm ピッチの高精度ネジで調整
- 3個のネジで各軸を 4°まで調整可能
製品一覧 E
製品画像 ・ 図面 ・ 特長 ・ 仕様


An additional mounting tool (part number G063726000 or G063727000) helps you during centric alignment of beam splitter cubes on the Adjustable Prism Insert 30
- マウンティングツールは、ビームスプリッタキューブや、プリズム サポート(型番:G06 5089 000)や調整可能プリズムインサート30(G06 3731 000)上にマウントする際に役立ちます。
- ツールの材質はオプティクスの表面を傷つけにくいプラスチック製
- 16, 20mm の 2サイズのビームスプリッタキューブに対応
- 90°直角プリズムにも利用可、材質:プラスチック
| 製品名 | 型番 | 価格(税別) | 技術資料 |
|---|---|---|---|
| ビームスプリッタキューブ用 マウンティングツール 16 |
G063726000 | ¥6,800 | — |
| ビームスプリッタキューブ用 マウンティングツール 20 |
G063727000 | ¥7,600 | — |
製品一覧 F
製品画像 ・ 図面 ・ 特長 ・ 仕様


Mounting example
- マイクロベンチキューブ内で⌀30mmのミラーインサートやプリズムインサートを微調整するための部品
- 微調整ねじは ±2.5°の調整レンジ、微調整ねじの操作は付属の六角ソケットによって行う。必要時応じて六角ソケットは接着剤で固定可能
- 調整ユニットは、キューブ 30 の一面上にマウントすることが可能。⌀30mm の全てのキューブインサートが使用可能
- キューブインサートの正確な角度調整、ピッチ 0.15mm の微調整ネジ
製品一覧 G
製品画像 ・ 図面 ・ 特長 ・ 仕様


- 調整レバー付
- ⌀30mm ミラー、プリズムマウントなどの回転調整
製品一覧 H
製品画像 ・ 図面 ・ 特長 ・ 仕様


- 楕円型(22.4x31.5mm)平面ミラー(34 0003)を45°の角度で接着
- UV 用ミラー付きバージョンあり(G340094000)
- 高精度ネジで調節
- 3個のネジでアライメントの調整と軸位置の設定が可能
- 360°回転可能、0.25mm ピッチのねじ、調整幅:±4°
- セットネジ用保護キャップ付
- G063713000:波長 400-700nm、G063714000:波長 200-700nm
| 製品名 | 型番 | 価格(税別) | 技術資料 |
|---|---|---|---|
| ビームステアリングミラー アッセンブリ |
G063713000 | ¥58,200 | |
| ビームステアリングミラー アッセンブリ UV |
G063714000 | ¥62,400 |
製品一覧 I
製品画像 ・ 図面 ・ 特長 ・ 仕様


- マウントされていないミラーやビームスプリッタプレート、フィルターなどを光路上に挿入するための部品
- 光学部品は接着して固定
製品一覧 J
製品画像 ・ 図面 ・ 特長 ・ 仕様

Clamp Holder in the foreground and Mounting Plate 25 with integraged Clamp Holder (optic not in scope of delivery)

Technical drawing of Clamp Holder for Prism
- 光学部品のマウント用(プリズム、ビームスプリッタキューブ、薄膜ポラライザ、10x17x8.5mm ND ウェッジフィルターなど)
- 10mm のエッジ長のポリアミド製ネジで固定
- 中央にスルー穴があり、光路上にマウントを挿入可能
製品一覧 K
製品画像 ・ 図面 ・ 特長 ・ 仕様


- 25mm リテーナリング付きスレッドボルトとロックナットで構成
- 反射プリズム、ビームスプリッタキューブ、30°プリズムなどを、ビーム光路中にマウント。光学部品は、プリズムサポートに接着するか、2 つの部品で挟んで固定
- ビームスプリッタキューブ、プリズムなどのマウント用
- 光学部品は 2 つのサポートの間で固定、または接着
製品一覧 L
製品画像 ・ 図面 ・ 特長 ・ 仕様


- プリズム、平面プレート、ビームスプリッタキューブのマウント用
- ビーム通過用のセンタ穴
- 20×30mm マウント面
- マウント可能な部品の最大高さ:約 25mm
製品一覧 M
製品画像 ・ 図面 ・ 特長 ・ 仕様

Adjustable Optic Holder 31.5 S


Application example of Adjustable Optic Holder 31.5 M
- Type M:マイクロメーターねじ、Type S:微調整ネジ
- 軸には六角ソケットが付いており、六角ノブによって操作可能。六角ソケットが不要な場合は、ノブに接着することが可能
- 高精度、高解像度のキネマチックマウント
- ⌀31.5mmオプティクス用リテーナーリング(G065069000)が 2 つ付属
- 適当なリテーナーリングを使えば⌀25、1"、1/2"オ プティクスにも使用可能
- ±4°の角度調整、0.8' 角度分解能マイクロメーター、ピッチ:0.25mm
- 厚さ 1.5~10mm までの光学部品に使用可能
- 2 枚両方のプレートにM35×0.5 の内部ネジ溝付
- マウントオプション:ポスト/マウントプレート用 M6 タップ穴、マイクロベンチロッドに直接マウント可能
この製品に関するお問合せフォーム
フォームが表示されるまでしばらくお待ちください。
しばらくお待ちいただいてもフォームが表示されない場合、恐れ入りますが こちら までお問合せください。

